Chiusura palla sinistra pesante confezione da 10 pezzi

Risparmia €92,58

Prezzo:
Prezzo di vendita€53,12 Prezzo regolare€145,70

Tasse incluse Spedizione calcolata in fase di acquisto

Descrizione

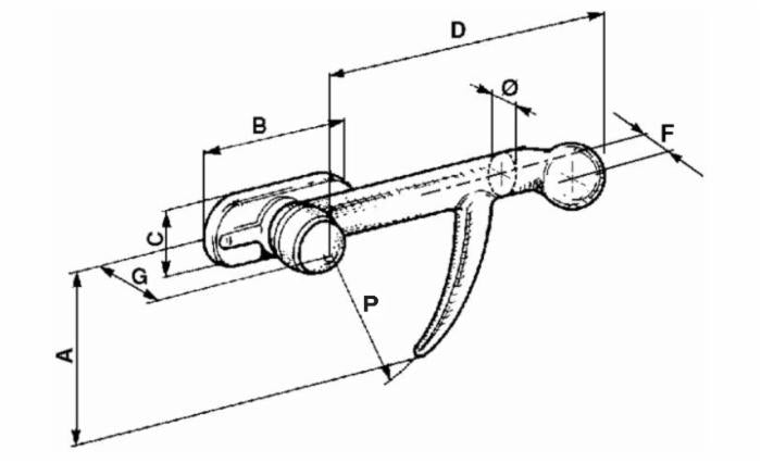
Chiusura a palla pesante lunga, Ø 15x20 mm tipo sinista.




Customer Reviews

Be the first to write a review
0%
(0)
0%
(0)
0%
(0)
0%
(0)
0%
(0)

Pagamenti sicuri e Garanzia Commerciale di 24 mesi

Apple Pay Google Pay Maestro Mastercard PayPal Shop Pay Union Pay Visa

Le tue informazioni di pagamento vengono elaborate in modo sicuro. Non memorizziamo i dati della carta di credito né abbiamo accesso ai dati della tua carta di credito.

Potrebbero interessarti..

Visti di recente: